一體化防爆氣象儀:防爆構造適應危險環境,為糧庫倉儲營造穩定的氣象環境【型號推薦:TW-WFB5,物聯網一體化設備,天蔚環境支持定制服務】在糧庫倉儲、化工園區、油庫等易燃易爆場所,氣象條件的細微變化都可能引發安全隱患。傳統氣象監測設備因分散式結構、防爆性能不足,難以滿足這類危險環境對安全與效率的雙重需求。一體化防爆氣象儀通過創新設計,將風速、風向、溫濕度、氣壓等多參數傳感器集成于緊湊設備中,外殼采用ASA工程塑料等防爆材料,具備防腐、防水、防震、防塵的高防護等級,可有效抵御化學腐蝕、電磁干擾及天氣影響。其防爆構造通過GB 3836或ATEX等國際認證,能阻止內部電火花或高溫熱點引燃外部易燃物質,確保在糧庫粉塵、化工氣體等環境中穩定運行。設備實時傳輸的氣象數據可輔助調整通風策略、預防糧食霉變,為倉儲安全提供精準保障。

一、產品簡介
我司作為專業研發生產銷售一體化防爆氣象傳感器的企業,一直致力于微型氣象儀和氣象環境解決方案推廣應用。具有完整的生產鏈、實力雄厚的技術團隊和全面的營銷團隊,我們研發生產的超聲波防爆風速風向儀、防爆五要素微氣象儀等氣象產品,已廣泛應用到化工廠、油庫、隧道、礦井等領域,客戶遍布全國各地,并取得了良好的社會效益和經濟效益。
與傳統的微型氣象儀相比,我司產品克服了對高精度計時器的需求,避免了因傳感器啟動延時、解調電路延時、溫度變化而造成的測量不準問題。
WFB5型防爆五要素微氣象儀創新性地將風速、風向、溫度、濕度、大氣壓力通過一個高集成度結構來實現,可實現戶外氣象參數24小時連續在線監測,通過數字量通訊接口將五項參數一次性輸出給用戶。
二、產品特點
1、頂蓋隱藏式超聲波探頭,避免雨雪堆積的干擾,避免自然風遮擋☆
2、原理為發射連續變頻超聲波信號,通過測量相對相位來檢測風速風向☆
3、風速、風向、溫度、濕度、大氣壓力五要素一體式☆
4、采用先進的傳感技術,實時測量,無啟動風速☆
5、抗干擾能力強,具有看門狗電路,自動復位功能,保證系統穩定運行
6、高集成度,無移動部件,零磨損
7、免維護,無需現場校準
8、采用ASA工程塑料室外應用常年不變色
9、產品設計輸出信號標配為RS485通訊接口(MODBUS協議);可選配232、USB、以太網接口,支持數據實時讀取☆
10、可選配無線傳輸模塊,最小傳輸間隔1分鐘
11、探頭為卡扣式設計,解決了運輸、安裝過程松動不準的問題☆
三、技術參數
1、風速:測量原理超聲波,0~60m/s(±0.1m/s)分辨率0.01m/s;
2、風向:測量原理超聲波,0~360°(±2°);分辨率:1°;
3、空氣溫度:測量原理二極管結電壓法,-40-60℃(±0.3℃),分辨率0.01℃;
4、空氣濕度:測量原理電容式,0-100%RH(±3%RH),分辨率:0.1%RH;
5、大氣壓力:測量原理壓阻式,300-1100hpa(±0.25%),分辨率0.1hpa;
6、生產企業具有ISO質量管理體系、環境管理體系和職業健康管理體系認證☆
7、生產企業具有計算機軟件注冊證書☆
8、生產企業為3Aji信用企業☆
9、生產企業具有Ex ia IIC T6 Ga高等級防爆證書☆
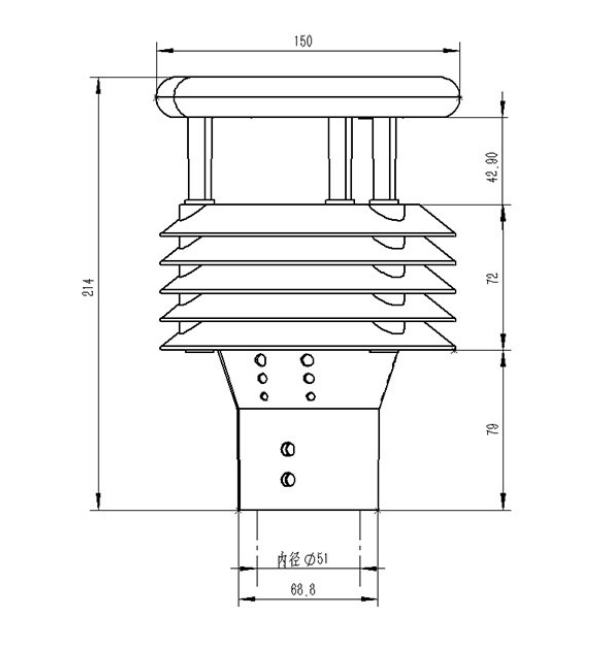
四、產品尺寸圖
五、產品結構圖

1、控制電路
2、指北箭頭
3、超聲波探頭
4、百葉箱
5、溫度、濕度、氣壓監測位置
6、底部固定法蘭
※此產品可選配電子羅盤、GPRS(內置)/GPS(二選一)
六、產品接線定義
VCC:棕色,GND:黑色,485A:綠色,485B:藍色
七、法蘭盤固定方式
1、微氣象儀
2、固定螺釘
3、通信電纜+航插
法蘭盤尺寸
立即詢價
您提交后,專屬客服將第一時間為您服務